Корзина пуста

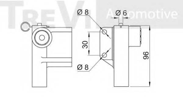
Успокоитель, зубчатый ремень TREVI AUTOMOTIVE TD1659

Бренд: TREVI AUTOMOTIVE
Артикул: TD1659
Запросить цену
Заказать
  • Доставка по РФ
    Доставка по РФ
    Оформите доставку в ближайший ПВЗ: Яндекс, СДЭК, Озон или Почта.
  • Гарантия
    Гарантия и возврат
    Гарантия от производителя и возврат в течение 14 дн.
Время работы:
Пн - Сб: 10:00 - 19:00

+7(495)140-14-14

Нужна помощь?
Написать в Whatsapp
  • Описание
  • Применимость
  • Характеристики

Успокоитель, зубчатый ремень TREVI AUTOMOTIVE TD1659

  • Производитель: TREVI AUTOMOTIVE
  • Артикул: TD1659
Телефон Меню 0 Корзина: Войти