Поиск по номеру запчасти: 040482
-
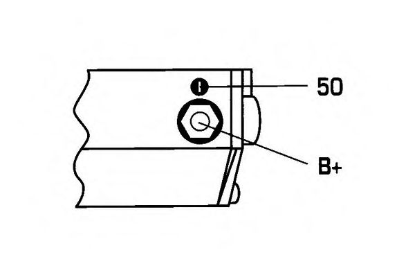
DA SILVA
- Бренд: DA SILVA
- Мощность стартера: 0,9 кВт
- Количество резьбовых отверстий: 2
- Количество крепежных отверстий: 2
- Число зубцов: 9T
- Модель бортовой сети: для транспортного средства с 12В бортовой сетью
-
METELLI
- Бренд: METELLI
- Сторона установки: задний мост
- Ø отверстия: 19,05 мм
- Материал: алюминий
-
CIFAMАналог
- Бренд: CIFAM
- Диаметр поршня цилиндра: 19,05 мм
-
SAMPAАналог
- Бренд: SAMPA
- Толщина: 29 мм
- Количество ребер: 3
- Внутренний диаметр: 7
- Диаметр: 76 мм
-
A.B.S.Аналог
- Бренд: A.B.S.
- Сторона установки: сзади
- Диаметр: 19 мм
